防爆呼唤按钮

防爆呼唤按钮

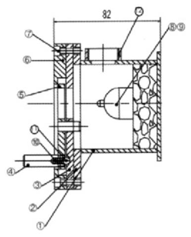
说明:

该按钮盒具有防爆、防震的功能,电按铃放置在盒内,即使有强烈的外力冲击也无法损坏到电按铃,保证其安全性,使用时,转动手柄,让转盘上的通孔与衬板上的通孔相对应,手便可伸入到底座内按动按钮让里面的人知道,及时打开密闭门。

产品咨询:0351-3051360
产品描述

防爆呼唤按钮.jpg

上一页:三防控制箱
下一页:防爆波阀门
产品询价
在线留言