当前位置: 工程业绩 > 通风设备 > 插板阀

插板阀

插板阀

适用:在输送空气的管道中,起调节风量的作用。
产品咨询:0351-3051360
产品描述

分类:

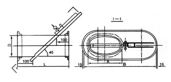
(一)密闭式斜插板阀T305

1、适用于密封性要求较高的除尘和气流输送管道上。

2、在水平管道上插放应以45°顺气流安装,在垂直管道(气流向上)插放以45”逆气流安装为宜。

3、阀板用6=2.0钢板制造,阀体风管用8=1.5钢板制造,如与系统风管管壁厚不同时应按设计要求采用。


密闭式斜插板阀.jpg


(二)圆开插板阀T355-1


圆开插板阀.jpg


(三)方形插板阀


方形插板阀.jpg


注:400X400mm以下插板阀无斜撑,320 X320mm以下无导轨。


产品询价
在线留言